 |
| |
The idea for my invention was born after hurricanes Irma and Maria ravaged Puerto Rico, leaving millions with no safe drinking water. In most cases, there was plenty of water, just no confidence that it was free of pathogens.
The safest way to sterilize water, particularly water that's not completely clear, is by boiling, but this requires fuel, which may not always be accessible. The sun, however, is free, and available ... at least, most of the time. Concentrating the heat provided by sunlight to boil water is an obvious solution, but, unless the collector is the size of a king-size bedsheet, boiling a quantity of water sufficient to sustain a few people for a day requires constant management so that the sunlight can be focused on the container continuously for hours. This, in turn, requires hours of unbroken sunshine.
My invention solves the need for uninterrupted sunlight by boiling small increments of water at a time, and doing so automatically, with no human management. On a cloudless day, where both mine and the traditional method might, for example, produce one gallon of potable water, on a partly cloudy day mine may produce a half gallon, where the traditional method none whatsoever.
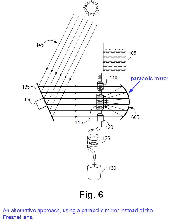
The invention's automation is achieved by a simple, but novel arrangement of check valves, and an inexpensive Fresnel lens, rotated on the polar axis of a gimbal mount by a small, solar-powered motor. The annotated patent application figures below show the scheme.
|
|
|
 |
|